Sachmangel bei „Barfußgitter“ – Einschätzung von Fachleuten gesuchtBarfußgitter / Barfussgitter

Diskutiere Sachmangel bei „Barfußgitter“ – Einschätzung von Fachleuten gesuchtBarfußgitter / Barfussgitter im Sonstiges Forum im Bereich Sonstiges; Ich habe aktuell einen Streitfall mit einem Lieferanten von sogenannten „Barfußgittern“ (Gitterroste für barfuß begehbare Bereiche...

?

Klagen ja/nein

  1. ja

    0 Stimme(n)
    0,0%
  2. nein

    1 Stimme(n)
    100,0%
  1. #1 marcidarci175, 05.03.2026
    marcidarci175

    marcidarci175

    Dabei seit:
    21.12.2021
    Beiträge:
    89
    Zustimmungen:
    9
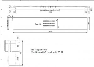
    Ich habe aktuell einen Streitfall mit einem Lieferanten von sogenannten „Barfußgittern“ (Gitterroste für barfuß begehbare Bereiche Terrassenausgang) und würde gerne eine fachliche Einschätzung aus der Praxis hören.

    In der Auftragsbestätigung ist ein Profilabstand von 8–10 mm angegeben. Branchenüblich sind nach meinem bisherigen Eindruck ebenfalls etwa 9–10 mm zwischen den Lamellen.
    Bei den gelieferten Gittern beträgt das Randspaltmaß außen jedoch etwa 20 mm, während die mittleren Abstände im genannten Bereich liegen. Zusätzlich weisen die Gitter Verarbeitungsmängel wie in der kompletten Länge Wölbungen durch das Verzinken und teilweise Grate/Nasen auf. Die dann beim Verlegen durch das gerade Biegen eine unterschiedliche Länge ausweisen würden. Es handelt sich hier um eine Gesamtlänge von 12 Metern aus 8 Stücken was bei einer Wölbung (kein plantares Auflegen) von 2-4 Millimetern in der Mitte jedes Einzelnen, sich deutlich in der Gesamtlänge auswirkt.

    Vor der Bestellung wurden mir Musterbilder geschickt, bei denen die Lamellen deutlich anders ausgeführt sind (nahezu bis zum Rand geführt, deutlich kleinere Randabstände).

    Meine Fragen an die fachkundigen Mitglieder hier:

    • Würdet ihr diese Ausführung bei einem als „Barfußgitter“ bezeichneten Produkt als mangelhaft ansehen oder noch als üblich einstufen?

    • Sind Randspalte in dieser Größenordnung bei solchen Gittern technisch üblich?

    • Besteht aus eurer Sicht eine relevante Verletzungsgefahr (z. B. für Zehen)?

    • Würde ein Sachverständiger/Gutachter eurer Erfahrung nach anhand solcher Merkmale beurteilen können, ob das Produkt für Barfußbegehung geeignet ist oder nicht?
    Hintergrund: Der Fall ist inzwischen im gerichtlichen Verfahren, und ich überlege, ob ein Gutachten hier voraussichtlich eher zugunsten oder zulasten des Auftraggebers ausgehen würde. Der Gala-Bauer hat bereits schriftlich bestätigt, dass die Gitter als barfußungeeignet sind und er für den Einbau keine Haftung übernimmt. Jedoch ist das auch nur seine Meinung. Mir geht das eher darum, wie würde das ein Sachverständiger einstufen.

    Ich freue mich über sachliche Einschätzungen aus Planung, Galabau, Metallbau oder Sachverständigenpraxis.
    Im Anhang befinden sich auch drei Musterbilder - die der Hersteller vorab geschickt hat.
    Gitter 8.jpg IMG_6998.JPG IMG_7010.JPG IMG_7012.JPG Unbenannt.jpg 20240530_111348~2.jpg 20240805_102450.jpg image9.jpeg Bitmap-Bild (neu).jpg
    #bitte_nur_fachliche_Rückmeldungen
     

    Anhänge:

  2. #2 ToTi, 06.03.2026
    Zuletzt bearbeitet: 06.03.2026
    ToTi

    ToTi

    Dabei seit:
    27.01.2025
    Beiträge:
    1.209
    Zustimmungen:
    705
    Beruf:
    Dachdecker
    Ort:
    Im Süden von Deutschland
  3. #3 ichweisnix, 06.03.2026
    ichweisnix

    ichweisnix

    Dabei seit:
    21.11.2022
    Beiträge:
    1.884
    Zustimmungen:
    701
    Wurde die Gitterbreite auf Maß gefertigt, oder ist es ein Standardmaß?
     
  4. #4 marcidarci175, 06.03.2026
    marcidarci175

    marcidarci175

    Dabei seit:
    21.12.2021
    Beiträge:
    89
    Zustimmungen:
    9
    Wurden auf Maß gefertigt.
     
  5. #5 ichweisnix, 06.03.2026
    ichweisnix

    ichweisnix

    Dabei seit:
    21.11.2022
    Beiträge:
    1.884
    Zustimmungen:
    701
    Dann hätten die Gitter 20 mm schmäler gefertigt werden müssen. Vorher eben sich die Ausführungszeichnungen geben lassen.
     
  6. #6 Fabian Weber, 06.03.2026
    Fabian Weber

    Fabian Weber

    Dabei seit:
    03.04.2018
    Beiträge:
    16.314
    Zustimmungen:
    6.481
    Das ganze Grauen zeigt sich hier, haha…

    Da hat jemand bei der Detailplanung mächtig gepennt.
     

    Anhänge:

  7. #7 simon84, 06.03.2026
    simon84

    simon84
    Moderator

    Dabei seit:
    11.11.2012
    Beiträge:
    23.266
    Zustimmungen:
    6.908
    Beruf:
    Schrauber
    Ort:
    Muenchen
    Form folgt Funktion :bierchen:
     
  8. #8 VollNormal, 06.03.2026
    VollNormal

    VollNormal

    Dabei seit:
    20.11.2021
    Beiträge:
    4.177
    Zustimmungen:
    2.816
    Beruf:
    Bauingenieur
    Ort:
    Bochum
    Genau so schlimm sieht doch auch das gelieferte Produkt aus. Insbesondere das Bild mit der gelben Deckenuntersicht zeigt klar erkennbar, dass der Spalt am Rand des Gitters deutlich breiter ist als zwischen den Stäben.
     
    profil gefällt das.
Thema:

Sachmangel bei „Barfußgitter“ – Einschätzung von Fachleuten gesuchtBarfußgitter / Barfussgitter

Die Seite wird geladen...

Sachmangel bei „Barfußgitter“ – Einschätzung von Fachleuten gesuchtBarfußgitter / Barfussgitter - Ähnliche Themen

  1. Auftsellort LWP - zwei Varianten, bitte um Einschätzung

    Auftsellort LWP - zwei Varianten, bitte um Einschätzung: Hallo in die Runde, wir hatten jetzt zwei Heizungsbauer da, welche leider diametral andere Sichtweisen haben. Es wird wohl der Aufstellort...
  2. Sachmangel/optischer Mangel Metalltür

    Sachmangel/optischer Mangel Metalltür: Hi zusammen, vielleicht hat hier jemand mehr Erfahrung bei Thema und kann diese teilen. Wir haben uns eine Metalltür/Lofttür einbauen lassen...
  3. Gebäudetrennfuge -- Beidseitig angenageltes Blech im Dachbereich Sachmangel?

    Gebäudetrennfuge -- Beidseitig angenageltes Blech im Dachbereich Sachmangel?: Hallo, es gibt ja zwischen Gebäuden eine Gebäudetrennfuge. Angenommen, im Bereich des Dachübergangs der beiden Gebäude geht ein (Winkel-)Blech...
  4. Horizontale Sperrschicht (Verblendmauerwerk mit Kerndämmung) beschädigt, Sachmangel?

    Horizontale Sperrschicht (Verblendmauerwerk mit Kerndämmung) beschädigt, Sachmangel?: Liebe Experten, hat die horizontale Sperrschicht beim Verblendmauerwerk (Vormauerwerksziegel, stark Saugfähig) mit Kerndämmung eine wichtige...
  5. Setzrisse kein Sachmangel?

    Setzrisse kein Sachmangel?: Hallo zusammen, unser BT hat uns einen Vertragsentwurf für unsere DHH zugeschickt. Unter "Rechte des Käufers bei Sachmängel" findet man...