Pfahlgründungen vergleichen

Diskutiere Pfahlgründungen vergleichen im Tiefbau Forum im Bereich Neubau; Hallo liebe Forumsgemeinde! Wir möchten gerne trotz der derzeit widrigen Umstände ein Haus bauen, das Grundstück dafür ist vorhanden. Ich habe es...

  1. Cykzak

    Cykzak

    Dabei seit:
    19.06.2023
    Beiträge:
    1
    Zustimmungen:
    0
    Hallo liebe Forumsgemeinde!

    Wir möchten gerne trotz der derzeit widrigen Umstände ein Haus bauen, das Grundstück dafür ist vorhanden. Ich habe es geerbt und habe ein Bodengutachten erstellen lassen. Natürlich darf ich mich nicht beschweren, immerhin habe ich das Grundstück quasi für lau erhalten. Aber leider ist das Grundstück nicht ganz optimal. Wir haben viel „weichen und breiigen Boden“, weshalb eine normale Gründung laut Gutachter keine Option ist. Stattdessen schlägt der Bodengutachter eine Pfahlgründung vor, damit sich das Haus nicht schief stellt oder Risse bekommt.

    Nun sind wir mittlerweile einen Schritt weiter. Über unseren Architekten haben wir Angebote für eine Pfahlgründung einholen lassen, die er uns nun vorgelegt hat. Viel erklären konnte er uns dazu nicht, ich glaube er hat nicht besonders viel Ahnung von Pfahlgründungen... Angefragt wurden drei Unternehmen. Eines hat gar kein Angebot abgegeben („Keine Kapazitäten“), eines hat Bohrpfähle angeboten und das letzte hat „duktile Rammpfähle“ angeboten, die aus Eisen sind. Das letztere Angebot hat viele Pfähle, die relativ kurz sind und knapp unter den weichen Boden reichen. Bei den Bohrpfählen sind es weniger Pfähle, die aber fast doppelt so lang sind (und das Angebot doppelt so teuer!). Bei beiden Angeboten wird festgehalten, dass sich die Pfahllängen und die Anzahl der Pfähle abschließend aus der Statik ergeben. Damit sind die Angebote für mich nur sehr schwer oder gar nicht vergleichbar, auch der Architekt kann mir hier nicht wirklich weiterhelfen. Die Kommunikation mit dem Bodengutachter stellte sich in der Vergangenheit bereits sehr schwierig dar. Ich habe ihn schriftlich um Auskunft gebeten, leider seit drei Wochen ohne Rückmeldung, telefonisch auch nicht erreichbar.

    Daher erhoffe ich mir über dieses Forum ein paar hilfreiche Hinweise. Kann man die Angebote bei zwei unterschiedlichen Pfahlarten überhaupt einfach so vergleichen? Muss ich zwei Statiken beauftragen oder kann man eine Art Musterstatik für beide Arten rechnen und dann entscheiden? Gibt es irgendwelche Punkte auf die ich achten muss, damit ich mich aus welchen Gründen auch immer nicht am Ende für das falsche System entscheide? Also gibt es Folgeprobleme, die ich beachten sollte?
     
  2. #2 Gast 85175, 19.06.2023
    Gast 85175

    Gast 85175 Gast

    Ohne den Mann zu kennen nehme ich das erstmal auch an. Architekten sind halt eher Künstler als Techniker...

    Ja gut, ohne den Statiker im Boot zu haben ist das was ihr da treibt nur Beschäftigungstherapie. Wozu ist es gut Preise für was einzuholen das so nie gebaut werden wird? Das ist alles Unsinn...

    Such dir einen Statiker und frag den wie man das in dem fall am Besten angeht. Der kennt die Region, der kennt die Preise, der kennt evtl. auch die typischen Baugrundverhältnisse, usw... Was Du hier tust ist das Stochern im Nebel das dich keinen Schritt weiterbringen wird...
     
  3. #3 Hercule, 19.06.2023
    Hercule

    Hercule

    Dabei seit:
    11.11.2019
    Beiträge:
    3.736
    Zustimmungen:
    865
    Wie groß wird das Haus ?
    Holzbungalow könnte man villeicht mit Krinner Schraubfundamenten machen.
    Kannst mal googlen.
     
  4. Mok

    Mok
    Moderator

    Dabei seit:
    23.06.2019
    Beiträge:
    466
    Zustimmungen:
    437
    Beruf:
    Ingenieurgeologe
    Im besten Fall hat dein Bodengutachter bereits ein Pfahlsystem vorgeschlagen, das er für geeignet hält. Für die Wahl des Pfahlsystems müssen verschiedene Punkte beachtet werden, die aus deinem Beitrag nicht hervorgehen. Zum Beispiel kann bei Rammpfählen die Erschütterung für Nachbarbebauung eine Rolle spielen (wobei duktile Rammpfähle i.d.R. recht erschütterungsarm eingebracht werden können). Dann spielen auch Grundwasser und Bodenart eine Rolle. Beides kann Beton und Stahl angreifen, das muss bewertet und bei der Wahl des Materials berücksichtigt werden. Hier findest du eine relativ umfangreiche Übersicht über die verschiedenen Arten von Pfahlgründungen. Abschließend sollte sich dein Bodengutachter dazu äußern.

    Wenn dein Bodengutachter sich noch länger tot stellt, dann kann dir für’s erste ggf. dein Tragwerksplaner weiterhelfen, der idealerweise die örtlichen Baugrundverhältnisse kennt und bereits Pfahlgründungen bei vergleichbaren Verhältnissen umgesetzt hat. Der Tragwerksplaner wird dir aber sehr wahrscheinlich keine Bemessungswerte für Spitzendruck und Mantelreibung liefern und dafür haften wollen. Irgendwann brauchst du deinen Bodengutachter.

    Was du unter „Musterstatik für beide Arten“ verstehst, weiß ich nicht. Aber auf jeden Fall brauchst du eine eigene Statik für jedes Pfahlsystem. Auch die Werte für Spitzendruck und Mantelreibung unterscheiden sich in der Regel (Vorgabe Bodengutachter). Ich würde aber empfehlen, den Bodengutachter eine Vorzugsvariante vorgeben zu lassen und zunächst nur diese zu verfolgen. Andernfalls hast du für den Variantenvergleich am Ende ggf. mehr Geld ausgegeben, als du durch die Wahl der Variante einsparen kannst.

    „Folgeprobleme“ gibt es eigentlich nicht. Der Architekt muss die Pfähle natürlich als Hindernisse im Baugrund in die Planung aufnehmen. Grundleitungen unterhalb der Bodenplatte sollten dann möglichst nicht durch die Pfähle geplant werden ...

    Bei deiner Anmerkung, dass die duktilen Rammpfähle „knapp unter den weichen Boden reichen“ werde ich hellhörig. Du brauchst eine Mindesteinbindetiefe in tragfähigen Boden. Die duktilen Rammpfähle sind im Vergleich zu Bohrpfählen sehr schlank, der Lastabtrag erfolgt hauptsächlich über Mantelreibung. Die Pfähle dürften also noch deutlich länger werden.

    Zusammenfassung: Dein Bodengutachter muss beurteilen, ob die vorgeschlagenen Systeme überhaupt ratsam sind und muss dann Vorgaben zur Bemessung liefern. Dein Tragwerksplaner, Sachverständiger für Geotechnik oder der Tragwerksplaner der Pfahlfirma muss die Pfähle bemessen. Wenn du beide Optionen vergleichen möchtest, müssen beide Systeme durchgerechnet werden. Erst dann kannst du belastbare Vergleiche vornehmen. Preise einholen macht auf der jetzigen Grundlage nur wenig Sinn.
     
  5. #5 Holzhaus61, 19.06.2023
    Holzhaus61

    Holzhaus61

    Dabei seit:
    10.04.2023
    Beiträge:
    1.325
    Zustimmungen:
    580
    Kannste nicht mal mit Deinen Bastelideen aufhören? Die Dinger haben keine AbZ, das wars. Mach die Leute nicht wuschig. Und bis man da die Zustimmung im Einzelfall hat, ist der TE in Rente...

    Architekt: ich tippe mal eher auf Bauzeichner vom GU. Und ohne Statik macht das eh keinen Sinn. Und so lange man nicht weiß, was da genau drauf kommt schon 3 x nicht..
     
    Mok gefällt das.
  6. Mok

    Mok
    Moderator

    Dabei seit:
    23.06.2019
    Beiträge:
    466
    Zustimmungen:
    437
    Beruf:
    Ingenieurgeologe
    Zum Thema Schraubfundamente verweise ich mal auf die ausführliche Diskussion in diesem Thread. Da wurde m.E. alles gesagt und das Thema muss hier nicht wieder durchgekaut werden.
     
  7. #7 Hercule, 19.06.2023
    Hercule

    Hercule

    Dabei seit:
    11.11.2019
    Beiträge:
    3.736
    Zustimmungen:
    865
    Schraubfundamente als Bauwerksgründung - grundrichtig.de

    Hier sogar ein Beispiel: öffentlicher Schulbau in der Schweiz - wo es ja bekanntlich genauso bürokratisch zugeht wie in Deutschland:
    Online Magazin: Schraubfundamente von Krinner: schnelle, sichere und zuverlässige Fundamentierung | Online Magazin

    Ich will damit nicht sagen das die Dinger besser sind aber in manchen Fällen können die durchaus vorteilhaft sein. Das könnte villeicht so ein Fall sein.
     
  8. #8 Surfer88, 19.06.2023
    Surfer88

    Surfer88

    Dabei seit:
    17.12.2018
    Beiträge:
    1.098
    Zustimmungen:
    467
    Wie tief musst du denn runter ?

    Gibt da auch günstigere Lösungen ohne Spezialgerät ;)

    lg
     
  9. SIL

    SIL

    Dabei seit:
    06.05.2018
    Beiträge:
    10.865
    Zustimmungen:
    4.211
    Beruf:
    M. Sc. Dipl. Ingenieur
    Ort:
    6210
    Hmmm erinnert sehr an ckfh oder so :hammer:
     
  10. #10 Jo Bauherr, 19.06.2023
    Jo Bauherr

    Jo Bauherr

    Dabei seit:
    19.06.2018
    Beiträge:
    1.045
    Zustimmungen:
    511
    Beruf:
    (Ex)-Vermieter
    Ort:
    Randberlin

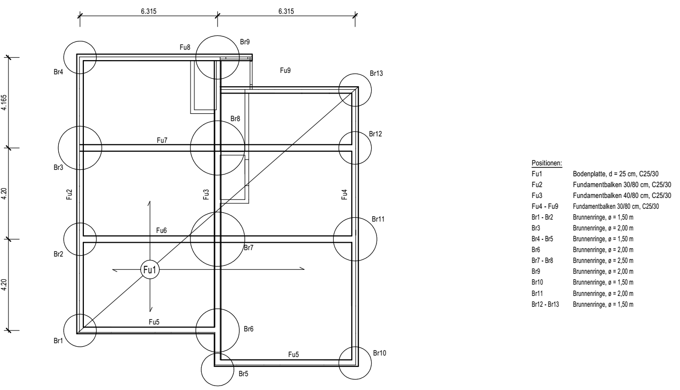
    Brunnenringe? Hatte ich mal bei einem Doppelhausprojekt auf einem zugeschütteten Teich.
    Tragfähiger Boden war allerdings schon bei ca. 2 Metern.

    upload_2023-6-19_19-22-30.png
     
  11. #11 Hercule, 19.06.2023
    Hercule

    Hercule

    Dabei seit:
    11.11.2019
    Beiträge:
    3.736
    Zustimmungen:
    865
    Ist da eine Schallung nicht deutlich billiger ?
    Die Ringe muss man ja auch mit Beton ausgießen.
     
  12. #12 Jo Bauherr, 19.06.2023
    Jo Bauherr

    Jo Bauherr

    Dabei seit:
    19.06.2018
    Beiträge:
    1.045
    Zustimmungen:
    511
    Beruf:
    (Ex)-Vermieter
    Ort:
    Randberlin
    Ja klar, in die Ringe kam dann Magerbeton rein. Das war der magerste Restbeton, den das örtliche Mischwerk liefern konnte. ... Es musste ja nur irgendwie abbinden um ein Fundamentklotz zu werden.
    Die Gerätetechnik war dafür nur ein Greiferbagger (mit Schlupp um die Ringe zu versetzen, und mit dem Greifer um diesen Ring dann auszubaggern, der rutscht dabei von selber in die Tiefe ... dann den nächsten Ring drauf ...usw.)
    Grundwasser war übrigens ca. bei einem Meter - bei der Methode ist das aber egal.
    Die Mannstunden waren allerdings schon extrem hoch!
    Aber: am Ende war es trotzdem deutlich preiswerter als Spezialtiefbau!
     
    Hercule gefällt das.
  13. #13 Hercule, 19.06.2023
    Hercule

    Hercule

    Dabei seit:
    11.11.2019
    Beiträge:
    3.736
    Zustimmungen:
    865
    Bei Grundwasser ist das mit den Ringen wirklich keine schlechte Idee.
    Da ist Beton natürlich auch im Vorteil.
    Würde mich interessieren wie lange Schraubfundamente halten bis Korrosion zum Problem wird. Die sind zwar verzinkt aber beim reinschrauben ist es ja nicht unwahrscheinlich, dass die Schicht leidet.
     
  14. #14 Surfer88, 19.06.2023
    Surfer88

    Surfer88

    Dabei seit:
    17.12.2018
    Beiträge:
    1.098
    Zustimmungen:
    467
    Brunnengründung ohne Ringe.
    Loch ausheben, ausgießen, fertig.
    Bagger mit verstell Ausleger + Beton, günstiger geht es dann kaum noch.
    Habe ich gemacht von 2,5 bis 3,5m.

    lg
     
  15. Oehmi

    Oehmi

    Dabei seit:
    23.02.2023
    Beiträge:
    1.272
    Zustimmungen:
    614
    Beruf:
    Diplom-Kümmerer
    Ort:
    Niedersachsen
    Da bei tragfähigem Boden unter Klei auch mit (gespanntem) Grundwasser zu rechnen ist (Baugrundgutachten gibt sicher Aufschluss) würde ich von so Empfehlungen wie Brunnenringen oder Loch machen und Beton rein abstand nehmen. (Wegen möglichem Grundbruch gern auch wörtlich)

    Hier wäre es einfacher nicht für alles ein neues Thema aufzumachen. Dann muss man nicht die Informationen aus den anderen zusammensuchen.
     
  16. #16 Fasanenhof, 22.06.2023
    Fasanenhof

    Fasanenhof

    Dabei seit:
    20.02.2023
    Beiträge:
    1.438
    Zustimmungen:
    803
    Beruf:
    Ing für Maschinenbau
    Ort:
    Norddeutschland
    Wenn ihr in eurer Region viel schlechten Boden habt (wie etwa hier in SH/Steinburg), dann werden lokale Bauunternehmer und Statiker das Problem der Pfahlgründungen kennen.

    Abreite bei solchen speziellen Problemen immer Lokal, mit etablierter Methode und mit Firmen, die das in diesem Boden schon gemacht haben.

    Du kannst basteln, kreativ sein und sparen, so viel du willst. Aber wenn du eine sichere Lösung suchst, dann wende dich an die lokalen Spezialisten.

    Zuerst also:
    Bodengutachten
    Vorentwurf
    Statiker
    -> Ab hier steht fest, wie viele/welche Pfähle dein Haus braucht.

    Danach geht es in die Detailplanung.
     
  17. #17 hanghaus2000, 22.06.2023
    hanghaus2000

    hanghaus2000

    Dabei seit:
    24.11.2021
    Beiträge:
    1.509
    Zustimmungen:
    620
    Beruf:
    Bauleiter, Kalkulator, Controller, Salzdesign
    Ort:
    Bayern
    Wo steht das Grundwasser? Wo beginnen die tragfaehigen Schichten?
     
Thema: Pfahlgründungen vergleichen
Besucher kamen mit folgenden Suchen
  1. pfahlgründung forum

Die Seite wird geladen...

Pfahlgründungen vergleichen - Ähnliche Themen

  1. Bodenplatte / Pfahlgründung / Perimeterdämmung

    Bodenplatte / Pfahlgründung / Perimeterdämmung: Zwar gibt es zu dem Thema schon die Ein oder Andere (ältere) Diskussion hier im Forum, aber so ganz zufriedenstellend waren Diese nicht für mich...
  2. Pfahlgründung & Co.

    Pfahlgründung & Co.: Bei meinem Boden habe ich den Jackpot gezogen. Der Aufbau: 0,5-1m Aufschüttungen (Belastet da vor 100+ Jahren eine Mülldeponie in der nähe war)...
  3. Kosten Pfahlgründung + Abdichtung

    Kosten Pfahlgründung + Abdichtung: Hallo zusammen, wir überlegen zurzeit ein Grundstück zukaufen, welches jedoch aufgrund des Bodengutachtens einige Mehrkosten mit sich bringt. Ich...
  4. Suche Sachverständiger Pfahlgründung Raum OWL

    Suche Sachverständiger Pfahlgründung Raum OWL: Hallo, ich bin auf der Suche einen Sachverständigen für Pfahlgründung im Raum OWL (Stadt Lippstadt) Es soll die geplante Pfahlgründung bewertet...
  5. Baugrund - Alternative zur Pfahlgründung?

    Baugrund - Alternative zur Pfahlgründung?: Es geht um einen Neubau in eine Baulücke, in der Nachbarschaft stehen rundherum 70er Jahre alte Häuser mit Keller, keine hat Pfahlgründung o.ä...